| 发布时间:2024-10-25 12:06:13 | 文章来源:齐鲁晚报 |
自2021年7月14以来,李子柒已经断更三年之久。2023年10月7日,她曾在一部官方宣传片中短暂现身5秒。
今日一见,网友纷纷激动表示:“起猛了,看到李子柒营业了!”
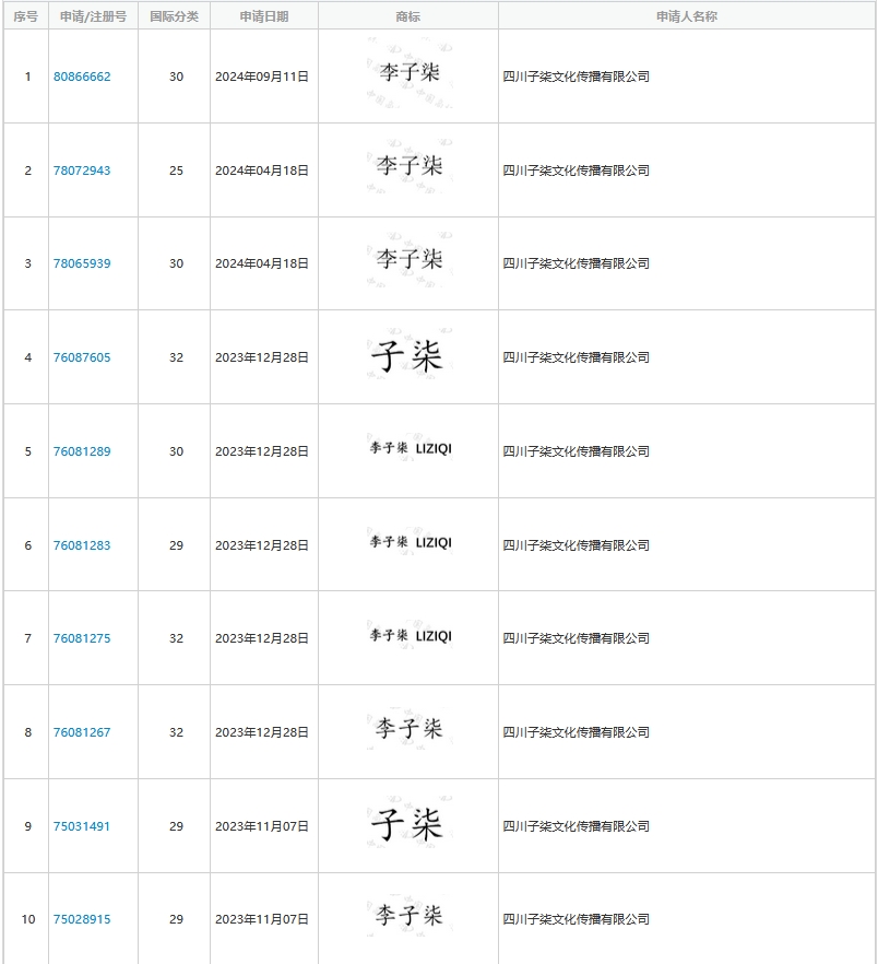
中国商标网查询显示,李子柒担任法定代表人、持股99%的四川子柒文化传播有限公司于今年申请的多枚“子柒”、“李子柒”商标注册成功,国际分类涉及食品、方便食品等。值得一提的是,该公司除2024年外,最近一次注册商标成功的时间,已为2021年由杭州微念品牌管理有限公司转让的“子柒”商标。

苏州双软认证|苏州双软企业认定|苏州双软认定 苏州双软评估申报|苏州软件产品评估|苏州软件企业评估|苏州软件产品测试|苏州软件著作权登记|苏州软件企业认定|苏州高新技术产品认定|苏州高新技术企业认定|苏州科技查新报告|苏州科技项目申报|苏州经信项目申报|苏州发改委项目申报|苏州市项目申报|苏州高新企业认定|苏州高企认定服务|苏州高企认定办理|苏州高企专利办理|苏州高企认定|苏州高企专利服务|苏州高企专利|苏州高企认定辅导|吴江高企申报办理|昆山高企专利办理|吴江高企代办办理|苏州高企代办服务|昆山高企代办服务|苏州高企代办机构|昆山高企专利服务|昆山高企代办办理|昆山高企代办机构|苏州高企申报办理|苏州高企代办|吴江高新技术企业认定|苏州高新企业申请条件|苏州高企代办办理|吴江高企代办机构|吴江高企复审|吴江高企认定机构|吴江高企专利服务|吴江高企专利机构|吴江高企认定|吴江高企复审机构|苏州高企专利机构|吴江高企认定服务|吴江高企复审服务|吴中高企专利办理|苏州高企复审办理|苏州高企申报服务|吴江高企专利办理|吴江高企专利|吴江高企代办|吴江高企认定办理|科技型中小企业认定|苏州科技成果转化|苏州专精特新认定|专精特新认定|苏州专精特新中小企业认定|苏州专精特新小巨人企业认定|科技领军企业认定|科技成果转化|瞪羚企业认定|雏鹰企业认定|市知识产权示范企业认定|省级企业技术中心认定|高新技术企业培育入库|苏州商标怎么申请|苏州商标代办|苏州软件著作权申请|苏州软件著作权补贴奖励政策|苏州软著申请|苏州著作权登记费用|昆山代理注册商标|苏州软著登记|苏州著作权登记|苏州软件著作权代理|苏州版权登记中心|温州技术专利申请|常州条形码申请|淮安条形码申请|常州专利申请|上海商标注册|泰州条形码申请|镇江条形码申请|盐城条形码申请|商标申请流程图及时间|上海商标注册流程|苏州公司商标注册|苏州注册商标费用|江苏专利申请|苏州商标注册公司|南京知识产权专利申请流程|商标专利注册|注册商标申请网站|苏州办理软件著作权多少钱|苏州计算机软件著作权登记|产品专利申请公司|苏州办理软件著作权机构|苏州做软件著作权机构|苏州软件著作权评估|苏州软件著作权注册|苏州软件著作权办理|商品商标注册|苏州办理软件著作权服务|苏州办理软企业认证|苏州办理软件著作权哪家好|苏州办理软件著作权咨询|无锡专利申请|苏州知识产权申报流程|苏州做软件著作权|苏州软件著作权认证|苏州软件著作权多少钱|江苏软件著作权咨询|苏州企业知识产权|苏州双软评估辅导|苏州办理软件著作权评估|杨浦区商标注册哪家好|苏州办理软件著作权|苏州知识产权贯标|苏州标准制定|苏州技术转移|江苏知识产权贯标|苏州信用等级认证|江苏办理软件著作权咨询|苏州办理软件著作权哪个好|江苏办理软件著作权评估|苏州知识产权注册|苏州项目软件著作权费用|苏州办理商标注册|苏州辅导软件企业费用|江苏软件著作权登记代理|苏州做软件著作权哪个快|江苏办理软件著作权|苏州知识产权转让|苏州知识产权交易|苏州商标注册|常州高企认证|苏州商标注册办理|苏州商标注册中心|苏州商标受理窗口|苏州商标注册窗口|苏州商标申请点|苏州商标服务中心|苏州商标申请代理|苏州商标注册费用|苏州商标注册申请办理|苏州市商标注册|苏州市商标申请|苏州市商标事务所|苏州商标代理公司|苏州商标注册服务|苏州商标注册申请|苏州商标注册代理|江苏商标注册|江苏苏州商标注册|苏州注册商标|苏州商标注册申请窗口|苏州商标转让交易|苏州商标转让|苏州创美商标事务所|苏州商品条码注册|创美知识产权代理公司|苏州创美知识产权|苏州涉外商标注册|苏州作品版权登记|苏州版权登记|苏州马德里商标国际注册|苏州欧盟商标注册|苏州涉外商标申请|苏州商标申请流程|苏州海外商标注册|吴江商标注册|苏州相城商标注册|常熟商标申请|太仓商标注册|张家港商标注册|昆山商标注册|吴中区商标注册|苏州园区商标注册|苏州高新区商标注册|苏州专利申请|苏州专利注册|苏州专利代理公司|苏州专利技术转让|苏州专利事务所|苏州专利申请流程|苏州专利申请代理费用|苏州软件企业申报|苏州商品条码申请|苏州条形码申请|苏州条形码注册|苏州商标交易网|苏州商标买卖|买商标|苏州购买商标|苏州商标交易|常熟商标转让|苏州软件产品登记|苏州注册商标申请|江苏省商品条形码申请|南京条形码申请|苏州商标续展|苏州条码续展|苏州商标驳回复审|苏州商标变更|苏州商标申请注册|苏州怎么申请商标|苏州商标申请价格|苏州公司商标申请|苏州商标申请窗口|苏州商标申请服务|苏州商标申请费用|苏州商标代理事务所|苏州商标申请窗口地址|苏州商标申请驳回|苏州商标注册转让|苏州商标授权|苏州商标注册申请手续|苏州如何商标注册申请|苏州商标许可备案|苏州商标注册流程及费用|苏州商标查询注册|苏州注册中国商标|苏州注册中国商标查询|苏州商标注册查询|苏州个人商标注册流程|苏州商标申请官网|苏州商标注册申报|苏州商标注册中心官网|苏州商标转让网|苏州商标网|苏州申请商标注册|苏州商标申请|苏州商标申请查询|南京商标注册咨询|苏州商标设计|苏州商注册代办公司|南京商标注册申请查询|苏州商标查询|苏州商标转让平台|杭州商标注册|苏州商标代理|苏州申请商标|苏州查询注册商标|温州商标注册代理费用|苏州商标申请公司|苏州著作权代理机构|苏州代理商标注册费用|南京商标转让|苏州商标注册代理公司|苏州注册商标代理|苏州代办商标注册|苏州商标注册机构|温州商标转让|苏州商标注册代办公司|苏州商标如何注册|苏州商标注册代理机构|南京注册商标价格|苏州商标代理注册|苏州商标注册收费标准|苏州商标注册平台|苏州商标注册流程|苏州注册商标价格|苏州公司注册商标|江苏苏州商标查询|苏州注册商标在哪儿|苏苏州商标查询|苏州商标在线查询|苏州商标注册价格|苏州商标注册咨询|苏州商标注册复审|苏州商标代理机构|徐州条形码申请|苏州商标注册代理费用|苏州国内商标注册|苏州注册商标流程及费用|苏州商标代理费用|南京商标注册|苏州商标注册代办|南京商标注册价格|南京商标变更|南京商标注册查询|温州商标名称注册查询|苏州商标注册申请查询|苏州商标申请需要多少钱







